Se depender da Stellantis, carros do futuro não terão pedais de freio e acelerador
Grupo automotivo cria protótipo de volante com controles que servem para regular a velocidade e até frear o veículo.
A Stellantis continua focada em trazer inovações para a indústria automobilística, mesmo que algumas delas afastem os próximos carros dos modelos mais atuais. O grupo, que é dono de marcas como Fiat, Jeep e Peugeot, tem trabalhado para eliminar os pedais de freio e acelerador nos veículos.
Para isso, a ideia é mudar completamente a forma como os motoristas dirigem seus carros e reunir mais funções no volante. Esse sistema futurista, que lembra os controles de uma aeronave ou de um videogame, tem formato de manche e é totalmente retrátil.
Volante retrátil para acelerar e frear
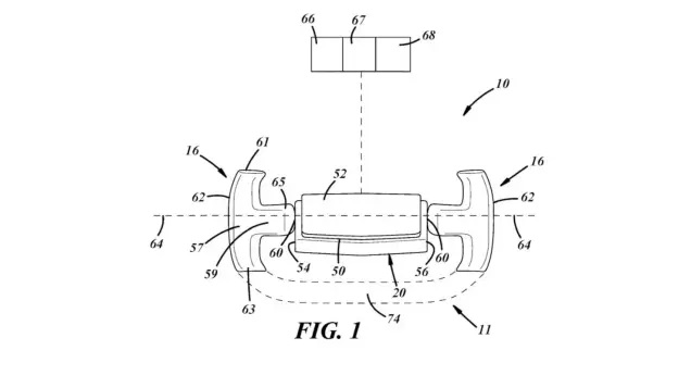
Segundo informações da mídia especializada, a patente do novo componente foi registrada nos Estados Unidos, e o grupo já produziu um protótipo para testes. O design lembra o manche de um avião.
No novo sistema, o condutor precisa empurrar o volante para acelerar e puxá-lo para frear, diferentemente do que acontece nos modelos tradicionais. Assim, a peça elimina a necessidade dos pedais e permite que o motorista controle o carro com uma só mão.

Ilustração do pedido de patente do novo volante. (Foto: Divulgação/Stellantis)
Para tirar o projeto do papel, a Stellantis enfrenta um desafio baseado no princípio da inércia: durante uma frenagem, o condutor pode acabar acelerando demais o veículo. Uma possível solução para o problema seria apenas inverter as funções do componente.
Outra questão importante é a coluna de direção, que será removida para dar lugar a uma tecnologia steer-by-wire, hoje presente na picape Tesla Cybertruck. Ela estabelece uma conexão virtual entre o volante e as rodas, sendo compatível com os sistemas autônomos de direção.
Ideia não é recente
 Apesar de ser revolucionária, a nova patente do grupo automotivo não é inovadora. No ano passado, a Toyota apresentou algo semelhante com o NEO Steer, um volante em forma de manche que controla os freios e a aceleração por meio de alavancas adicionais, pensado para adaptar automóveis para pessoas com deficiência (PCDs).
O projeto da Stellantis não inclui orientações específicas sobre o tipo de uso, mas certamente pode ser útil em carros adaptados para o público PCD.
Cabe lembrar que a característica retrátil do novo manche também é baseada na perspectiva de um futuro no qual os carros não precisarão de interferência humana para serem guiados. A ideia é que, em alguns anos, o volante possa ser escondido no painel para liberar mais espaço enquanto o veículo estiver no piloto automático.
